Google đệ trình bằng sáng chế loại điều hòa công nghệ cao không sử dụng cánh quạt, đem tới khả năng làm mát yên tĩnh với giá rẻ.
Google đăng ký cấp bằng sáng chế máy điều hòa không khí không cánh quạt có thể nhìn xuyên thấu. Nó được thiết kế để khắc phục các nhược điểm của điều hòa truyền thống như chạy ồn ào, khí nóng có thể bay ngược vào trong nhà, chắn tầm nhìn cửa sổ.
|
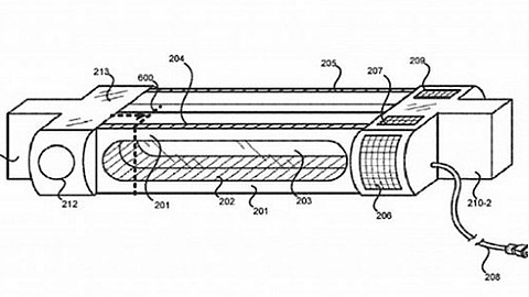
| Thiết kế điều hòa mới do Google công bố. Ảnh: Google. |
Mẫu điều hòa mới này được trang bị thiết bị gọi là "vòng bay hơi". Khi sử dụng cùng với bộ điều nhiệt thông minh, nó có thể giúp làm mát căn phòng mà không cần tốn quá nhiều điện, đồng thời không dùng chất làm lạnh. Mục đích của nó là bịt kín cửa sổ, bảo đảm hoạt động êm và gọn hơn điều hòa truyền thống
Để làm mát hiệu quả, thiết bị ứng dụng tính năng "làm lạnh nhiệt điện Peltier", cho phép thu nhỏ kích thước sản phẩm. Hiệu ứng Peltier tạo ra chênh lệch nhiệt độ khi truyền điện áp vào các điện cực làm từ vật liệu dẫn điện.
Thiết kế này có thể cạnh tranh với quạt không cánh Dyson được ra mắt vào năm 2014. Dyson đã chi khoảng 50 triệu USD để phát triển quạt không cánh mang tên Air Multiplier.
Theo vnexpress.net